LHY硫磺液下泵【液硫泵】
LHY硫磺液下泵适用于各种规模的硫磺制酸工艺流程中输送130-158度的液体硫磺。也适用于其他需要小流量,高扬程的化工流程。LHY液硫泵由于扬程特高,流量特小,比转数特低,已不可能用离心泵的型式来达到性能要求,用旋涡泵则在运转过程中性能不稳定,故采用全新的技术进行不力设计,具有普通离心泵,旋涡泵所不具备的特殊优点。液硫泵泵流量在很大范围内变化时,泵的扬程始终保持不变。这一特点特别适用于要求泵具有自调特性的化工流程。
概述
LHY硫磺液下泵结构特点
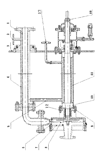
1.本系列泵是一种立式保温液下泵。泵的出液管从泵体,前泵盖均设有蒸汽或导热油保温夹套。
2.本系列泵主要由泵体,叶轮,前泵盖,泵轴,弯管,出液管,中间接管,底板及轴承箱,电机座等零部件组成。
3.本系列泵的叶轮为星形结构。其结构简单,制造方便。叶轮开平衡孔以平衡轴向力,轴向力基本上可以认为完全平衡掉,为泵的运转有很大的好处。
4.本系列从电机端看为逆时针旋转达。
5.本系列泵安装尺寸可以根据客户的使用要求定做。
应用范围
性能范围:
流量:0.2-10m3/h
扬程:40-120m
转速:2900r/min
适用温度范围:t<=200度,如采用特殊的制造技术,适用温度可提高到550度。
结构简图

型号意义
例如:LHY-1/80
LHY-系列代号
1-泵的流量(m3/h) 80-泵的扬程(m)
性能参数表

适用范围
硫磺制酸是我国硫酸工业的重要发展方向之一,小流量,高扬程的液硫泵是硫磺制酸的关键装备,为了适应这一形势发展的需要,在有关设计院所,大专院校专家及本厂职工的共同努力下,我们开发出LHY系列立式液硫泵。
LHY保温液硫泵结构简单,维护方便,运行平稳,性能稳定。
本系列泵在输送液体硫磺时,采用1Cr18Ni9Ti材料制造,当使用于其它化工流程时,可用下述材料制造:
304(0Cr18Ni9) 316(0Cr18Ni12Mo2)
1Cr18Ni12Mo2Ti 316L(00Cr18Ni12Mo2)
CW-2(CD4MCU) J-1(UB-6)
本泵在输送液体硫磺及其它易燃介质时,一般采用YB系列防爆电机,亦可根据用户要求选配其它类型的电机。


